近日,由中國水產科學研究院黃海水產研究所張浩然等研究發明的“一種船舶用內壁防劃傷自動除垢熱水箱”獲國家發明專利授權,專利號:ZL 2021103093046。
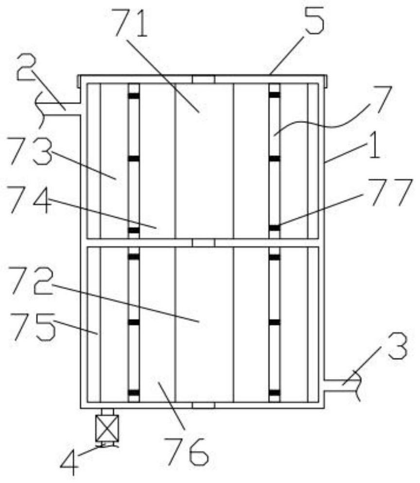
本發明屬于船舶熱水供應領域,更具體的涉及一種船舶用內壁防劃傷自動除垢熱水箱。包括箱體和設置在箱體上的進水口和出水口,箱體頂部有一可以打開的蓋體,底部設置有排污口,箱體內部設置有加熱器,包括設置于所述箱體內的用于刮除箱體內部表面的水垢刮除器,用于提供動力的驅動裝置,以及用于控制水垢刮除器和驅動機構的控制器;所述水垢刮除器包括一與所述蓋體活動連接的動力刮板,以及一與箱體底部活動連接的從動刮板,所述動力刮板與從動刮板之間設置有用于連接動力刮板與從動刮板的轉動連接裝置,所述動力刮板與電機連接,從動刮板與動力刮板沿相反方向運動;變向推板前端的運動方向改變電機的轉動方向,始終使變向推板處于刮除水垢的狀態。
