近日,由中國水產科學研究院黃海水產研究所隋娟等研究發明的“水產動物運動行為測試方法”獲國家發明專利授權,專利號:ZL 2020111322625。
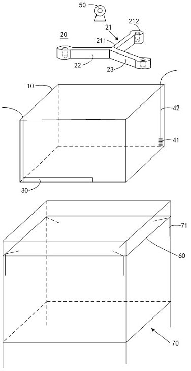
本發明公開了一種水產動物運動行為測試裝置及測試方法,所述測試裝置包括:第一主體,至少用于盛放水產動物游動用水;第二主體,置于所述第一主體內,包括有相互連通的多個支路,多個所述支路限定出運動空間,多個所述支路的側壁上形成有過水孔,所述第二主體通過所述過水孔與所述第一主體連通;溫度調整單元,用于調整所述第一主體中的水的溫度;氣量調整單元,用于調整所述第一主體中的水的溶解氧的濃度;光照調整單元,用于調整所述第一主體中的光照強度;視頻獲取單元,用于獲取所述第二主體中的水產動物的運動視頻。應用本發明,能夠實現對水產動物運動行為的精確、可定量統計分析,提高運動行為測試結果的準確性。
